Produktabbildungen sind beispielhaft und können in Details abweichen.
Artikelnummer:
197873
Artikeldateien auf Anfrage!
Produktinformationen "Gewindefräser SolidCUT BGF 60° 2xD"
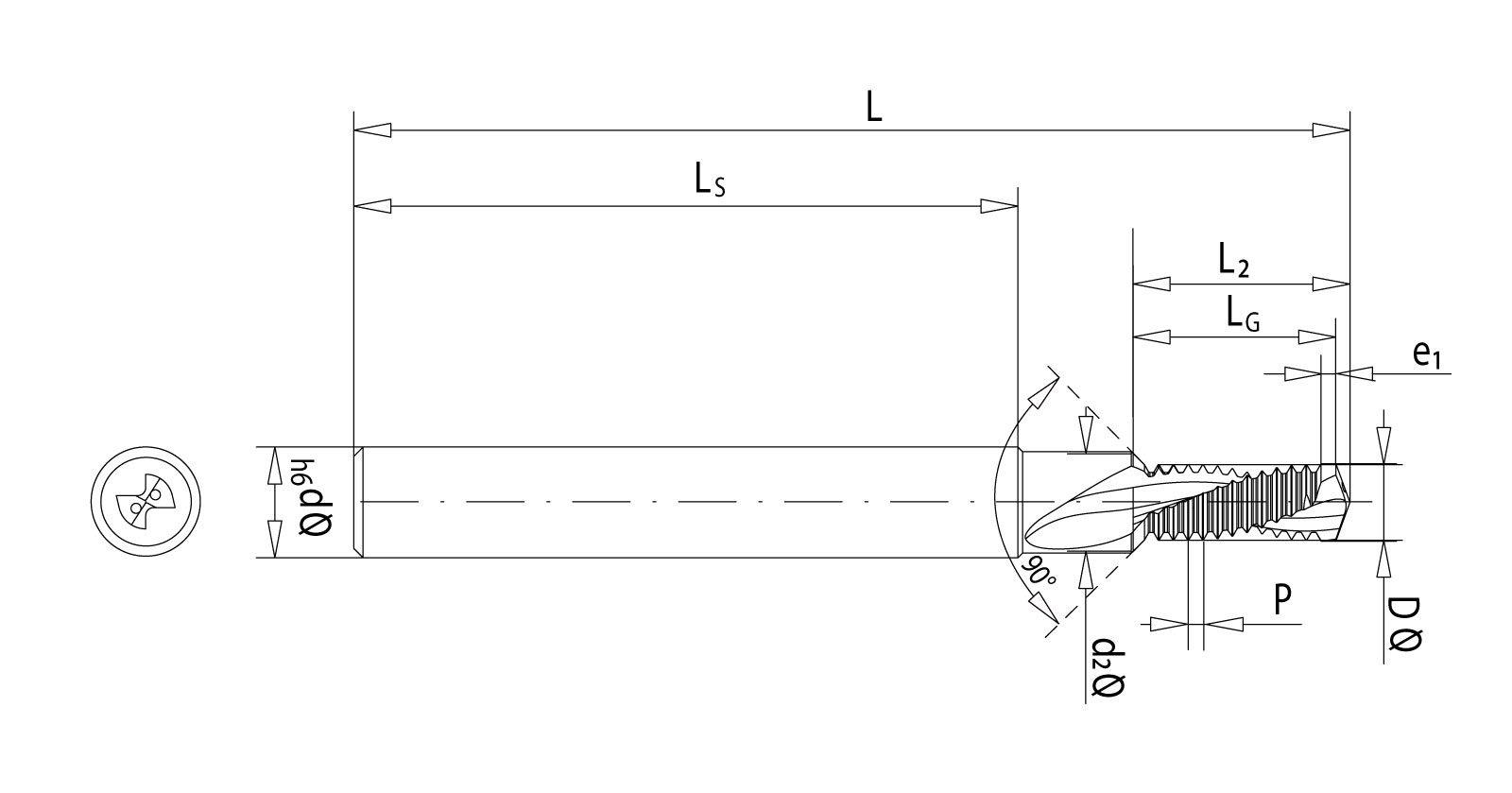
| Steigung [mm]: | 1,25 |
|---|---|
| Gewindebereich: | M8 |
| Schneidendurchmesser D [mm]: | 6,45 |
| Profilausführung: | Vollprofil |
| Gewindeart: | Innengewinde |
| Typ: | SolidCUT BGF |
| Anzahl Schneiden: | 2 |
| Spanwinkel: | 8° |
| Innere Kühlmittelzufuhr: | axial |
| Ausführung: | 2xD |
| Gewindeprofil: | 60° |
| Gewindenorm: | DIN 13 |
| Gewinderichtung: | Rechts & Linksgewinde |
| Beschichtung: | Tinamatic |
| Substrat: | VHM |
| Einsatzbereich: | Stahl-Guss und Aluminium |
| Schaftform DIN1835/6535: | HA (Glattschaft) |
| d h6 [mm]: | 10 |
| d2 [mm]: | 8,3 |
| L [mm]: | 74 |
| L2 [mm]: | 18,5 |
| e1 [mm]: | 1,25 |
| Drallsteigungswinkel: | 25°R |
Vor dem Einsatz ist die Maschine auf mögliche Störkonturen seitens des Werkzeugs zu prüfen. Für daraus resultierende Schäden übernehmen wir keine Haftung.
|
P (Stahl)
|
M (Rostfreier Stahl / Edelstahl)
|
K (Gusseisen)
|
N (Nichteisenmetalle)
|
S (Superlegierungen und Titan)
|
H (Gehärtete Stähle)
|
O (Andere)
|
|
|---|---|---|---|---|---|---|---|
| Vc | |||||||
| hm | |||||||
| fz |